Planetary gearboxes
The planetary gearbox is a reliable gear mechanism operating on the principle of planetary transmission. It converts the received torque and transmits it within a single geometric axis of rotation.
The design of the unit is extremely simple – there is a certain set of gears. They are interconnected. Some of them have a fixed axis, while others have a movable one. The latter rotate around the former and transmit translational movements, thereby running them around. The operation of planetary gearboxes is based on this transmission.
For what purposes is a planetary gearbox used?
It is needed wherever conversion of the original torque is required. Especially where it is necessary to increase the rotation speed. The degree of growth of this indicator depends on the ratio of the number of teeth on the central (also called solar) gear and on the side (crown). The fewer teeth on the solar wheel and the larger on the crown wheel, the higher the torque will be.
Planetary gearboxes are used in:
- Devices;
- Machines;
- Auxiliary drives;
- Power transmissions;
- Gearboxes;
- Differentials of cars and special equipment.
The shape of the gears determines the scope of the mechanism – they can be chevron, straight-toothed and oblique. The gearbox itself can also be different – conical, wave and cylindrical.
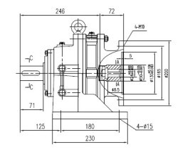
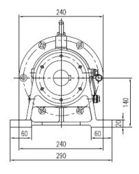
Planetary gearbox – what does it consist of and how does it work?
The device of such devices is simple. They consist of a solar gear located in the center of the transmission, a crown gear (the second name is epicycle) located on the periphery, satellites (their minimum number is 3) installed between the crown and the solar gear, a carrier with axes.
The principle of operation is that the torque is transmitted through the semi–axis to the solar gear, it gradually rotates satellites with their own axes, which are fixed on the carrier (it is fixed on the beam). The satellites transfer the available torque (converting it) to the crown wheel.
Buy a planetary gearbox from the Salutech company
We set prices for high-quality planetary gearboxes that are affordable to each client. Since we have dealer relationships with their manufacturers. We offer only reliable mechanisms that have been tested by time and experts. We help you choose the right type of gearbox based on the customer's wishes.
The company offers comprehensive solutions for companies in the industrial, manufacturing, construction and agricultural sectors. Our planetary gearboxes are made from high-quality raw materials. They have a long service life and an acceptable cost.
























